Возможности применения шредеров и их разновидности
Стремительный индустриальный рост начала XX века привел к необходимости массовой утилизации производственного мусора. Сегодня шредерное оборудование (от англ. shred — «измельчать») стало незаменимым инструментом в промышленности, позволяя превращать горы мусора в ценное вторичное сырье.
Сфера применения и возможности оборудования
Промышленные шредеры предназначены для дробления крупногабаритных и высокопрочных материалов. Это ключевое звено в цепочке подготовки сырья к дальнейшей глубокой переработке.
Агрегаты для вторичной переработки эффективно справляются с:
-
Древесиной: шпалами, бревнами, мебелью;
-
Строительным мусором и ТБО;
-
Полимерами: ПЭТ-тарой, пленками, трубами;
-
Автомобильными шинами и макулатурой.
Благодаря низкой скорости работы механизмов, такие устройства отличаются пониженным износом деталей, что выгодно выделяет их на фоне высокоскоростных дробилок.
Классификация по конструктивному исполнению
При выборе оборудования для автономного использования или в составе линии необходимо учитывать конструкцию роторной системы:
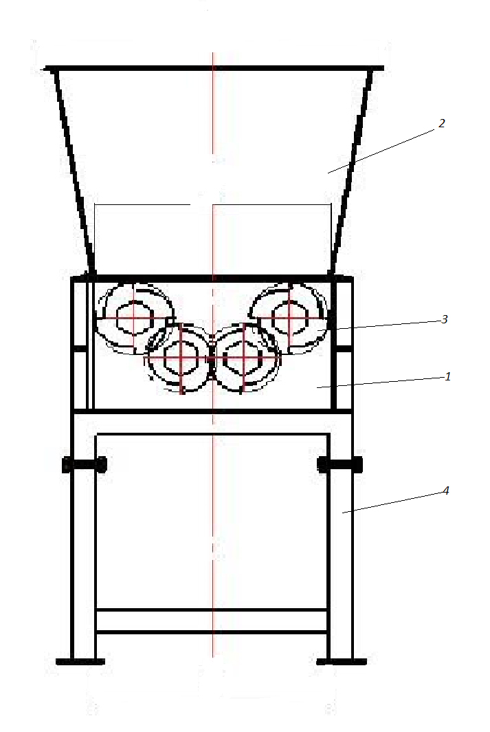
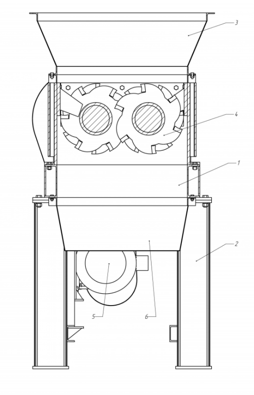
- Однороторные шредеры (с гидравлической пресс-плитой для подпрессовки сырья).
- Двухроторные.
- Четырехроторные (для наиболее сложного сырья и тонкой фракции).
Также аппараты различаются по мобильности и типу питания:
-
Исполнение: стационарные (для заводов) или мобильные (для работы на выезде).
-
Тип привода: электродвигатель, ДВС или работа от вала отбора мощности (ВОМ) трактора.
-
Способ загрузки сырья: с помощью погрузчика, конвейера или грейфера.

Виды шредеров по типу перерабатываемого материала
Современное оборудование классифицируется по специализации под конкретные задачи:
- Универсальные модели. Способны перерабатывать почти любой вид материала — от древесины до картона и пластика. Итоговый размер фракции в них регулируется, при этом самая высокая пропускная способность достигается при получении крупных фрагментов.
- Шредеры для ТБО и строительного мусора. Эти мощные машины адаптированы для работы с отходами, содержащими до 20% металла. Они легко измельчают пни, шпалы, строительные конструкции и смешанный мусор на крупных полигонах утилизации.
- Оборудование для деревообработки. Специализированные устройства для переработки горбыля, поддонов с гвоздями и фанеры. Они позволяют получать на выходе качественную технологическую или топливную щепу, обеспечивая безотходное производство.
- Измельчители полимеров и пластика. Для работы с ПЭТ-бутылками и литьевыми отходами обычно применяют одновальные шредеры. Учитывая высокую абразивность пластика, такие агрегаты изготавливаются с повышенным запасом надежности.

Экономическая выгода и экология
Промышленные шредеры обладают высокой окупаемостью. Внедрение такого оборудования не только улучшает экологическую обстановку в регионе, но и открывает возможности для извлечения прибыли за счет продажи или повторного использования вторичного сырья. Грамотная стратегия переработки превращает издержки на утилизацию в стабильный доход.